MISE A JOUR – 8 SEPT. 2011 : La Nike McFly fera bien son retour sous le nom de Nike Mag 2011. Toutes les infos ICI.
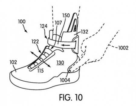
Nike pourrait sortir la Nike Marty Mc Fly ? C’est en tout cas ce que laisse supposer ce dépôt à l’OMPI qui vise à protéger la création d’une paire de chaussure qui se lacerait automatiquement et dont la forme est la même que celle portée par le héros de Retour vers le futur. Nike a-t-il effectué ce dépôt de manière défensive afin de ne pas se faire voler l’idée du film ou un vrai projet est-il en marche ? Découvrez les images dans la suite.




